SHARE:  

HRS Issued a U.S. Patent for Technology Used in

EXR Audio Stand Systems

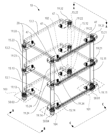
The HRS EXR Audio Stand System has been granted a US Patent (US Patent No.: 11,751,682.), securing its position as a unique and truly innovative audio stand system in the HiFi audio industry.

This Patented EXR design has a unique asymmetrical 4-leg vertical support system that increases frame stiffness and overall performance compared to traditional 3 or 4-leg designs.

EXR AUDIO STAND SYSTEM SERIES

HRS Black EXRH-9.515-2-3V Headphone Stand System


An innovative, custom version of the EXR Audio Stand System, the EXRH provides exceptional broadband noise reduction for headphone systems and other small-format electronic components.

HRS Silver EXR-1921-3V Audio Stand System



The EXR offers a high-performance, cost-effective design that provides extensive system configuration flexibility and infinite modularity.

HRS Black EXRD-1942-2V Audio Stand System


The EXRD provides a continuous 42″ wide surface, allowing extensive system configuration flexibility and the ability to hold multiple components on each shelf while offering the same precision and finish quality as our reference-level systems.

HRS Silver EXR-1921-1V Audio Stand System



The EXR Amplifier Audio Stand System can be customized for any amplifier in the world.

The EXR Audio Stand System is the most cost-effective, high-performance audio stand system developed by HRS that provides extensive system configuration flexibility and

infinite modularity.

Find an HRS Dealer Near You!

Connect with us!

Facebook  Instagram  Pinterest  YouTube

Harmonic Resolution Systems | (716)873-1437 |

sales@AVisolation.com

www.AVisolation.com